L'imprimante à cartes Seaory a reçu un certificat de brevet d'invention américain
Récemment, Seaory a reçu un document des États-Unis, qui est un certificat d'autorisation de brevet d'invention américain, ce qui signifie qu'une demande de brevet proposée par Seaory a été formellement approuvée.
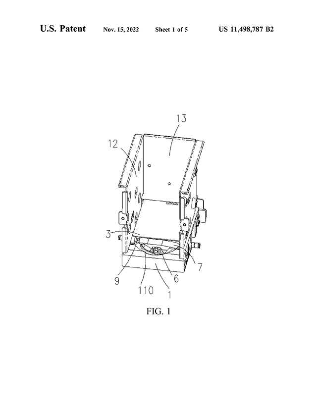
Selon le personnel compétent de l'équipe R&D de Seaory, le brevet d'invention américain obtenu cette fois-ci est "Dispositif d'alimentation en cartes et imprimante de badges et de cartes ayant le même" (brevet n° US11,498,787B2). Seaory a d'abord proposé ce dispositif d'alimentation de carte pour l'imprimante de carte, qui pourrait assurer un taux de réussite de 100% de l'alimentation de carte pendant l'utilisation, et pourrait également éviter efficacement le chevauchement et le manque de douceur lors de l'alimentation de carte, et d'autres défauts, améliorant considérablement l'expérience de l'utilisateur.

Tout au long, Seaory persiste dans sa responsabilité de produire des produits intelligents "Made in China", et se consacre à des travaux de R&D indépendants et attache de l'importance aux droits de propriété intellectuelle, en se concentrant sur la mise en place mondiale de la protection de la technologie des brevets. Le brevet d'invention américain de cette fois n'est qu'une des nombreuses technologies brevetées de la société, et le travail de R&D de Seaory va toujours de l'avant.

Depuis sa création, Seaory a plus de 20 ans de précipitation technique dans le domaine des imprimantes à cartes. Elle est toujours cohérente avec la philosophie d'entreprise "excellente qualité, service parfait", dans le travail d'adhésion au principe de "maîtrise de la technologie de base, service localisé". Grâce à la gestion de la " normalisation, de l'institutionnalisation, de l'humanisation et de la spécialisation ", elle attire les talents de l'industrie, s'engage dans les nouvelles technologies, le développement de nouveaux produits et l'innovation, et crée activement une compétitivité de base et une marque d'entreprise avec des droits de propriété intellectuelle indépendants.
L'imprimante à cartes Seaory a été louée par la majorité des clients de l'industrie, ce qui provient de la force technique et de la confiance de l'entreprise. L'avenir de Seaory sera meilleur !